广绿玉玉石的矿物学研究
时间: 2011-09-28 16:00:00 文章来源: GTC您专业的珠宝技术顾问 作者:未知
摘 要 : 广绿玉产于广东省广宁县 , 是一种富有特色的珍贵玉石材料。对绿、白、黄、黑等 4 类典型广绿玉原料 , 采用 X 射线粉末衍射、扫描电镜、红外光谱、差热分析、电子探针等多种方法 , 对玉石的全岩物相、主矿物显微形貌、矿物化学及晶体结构等进行了分析
摘 要:广绿玉产于广东省广宁县,是一种富有特色的珍贵玉石材料。对绿、白、黄、黑等4类典型广绿玉原料,采用X射线粉末衍射、扫描电镜、红外光谱、差热分析、电子探针等多种方法,对玉石的全岩物相、主矿物显微形貌、矿物化学及晶体结构等进行了分析。结果表明,广绿玉主要由2M1型绢云母组成,部分品种含有绿泥石和石英等。乙二醇饱和处理X射线粉末衍射和红外光谱分析显示绢云母结构中不含蒙脱石间层;差热分析显示玉石在中温区吸热谷的脱羟极值温度大于600℃,与水云母明显不同;扫描电镜显示绢云母类单矿物的微形貌多呈鳞片状,矿物排列组合沿长轴顺层穿插和定向交织,表现为叠层状或鳞片交织状微结构;电子探针成分分析表明绢云母矿物化学成分中Si、K、Al、Cr等含量较高,部分属含铬绢云母亚类, Cr可能是绿色和白色广绿玉的主要致色元素。
关键词:广绿玉玉石;绢云母;矿物学
Study on Mineralogy of Guangning Jade
GUO Qinghong, ZHOU Yongzhang,
Abstract: The Guangning jade is a precious type of Chinese jades, which is found in Guangning county,
Key words: Guangning jade, sericite, mineralogy
广绿玉产于广东省广宁县城南西部五指山顶,又称广绿石、广宁石和广东冻。该类玉石颜色艳丽,柔和细腻,晶莹剔透,硬度适中,既是少见的奇石,又是制作印章和工艺美术品之珍材[1]。玉石多为参差状或瓷状断口,蜡状光泽和丝绢状光泽,用于雕刻加工的玉石自然块度一般为15 cm×40 cm[2]。前人对广绿玉做过一定的研究工作,早期认为广绿玉属绢云母-水云母质玉[3],之后发现其中含有绿泥石[4],进一步的谱学测试认为广绿玉为绢云母质玉更为合适[5-6]。这种玉石具有致密块状、细脉状、角砾状、交代残余、条带状和浸染状等多种构造。
近年来随着这种玉石勘探开采工作逐步深入,发现了更丰富的广绿玉玉石种类和类型。而对广州汉代玉器的研究也显示,部分南越王墓出土的玉衣片上的玉器很可能和广绿玉有关,因此,有必要进一步对广绿玉主要的玉石类型及其矿物组成和致色机理做更进一步的深入研究。
1 样品与测试方法
4种具有代表性的绿、白、黄、黑色广绿玉原料,测试工作分别在中山大学测试中心和广东省物料实验检测中心完成。其中, x粉末衍射分析采用全岩粉末制样,利用D/Max-IIIA X-射线(粉末)衍射仪完成, Cu靶,Kα射线,工作电压44kV,电流30 mA,扫描速度2°/min;扫描电镜分析采用玉石原岩碎块制样,利用Quanta
2 结果与分析
2.1 X射线粉末衍射分析
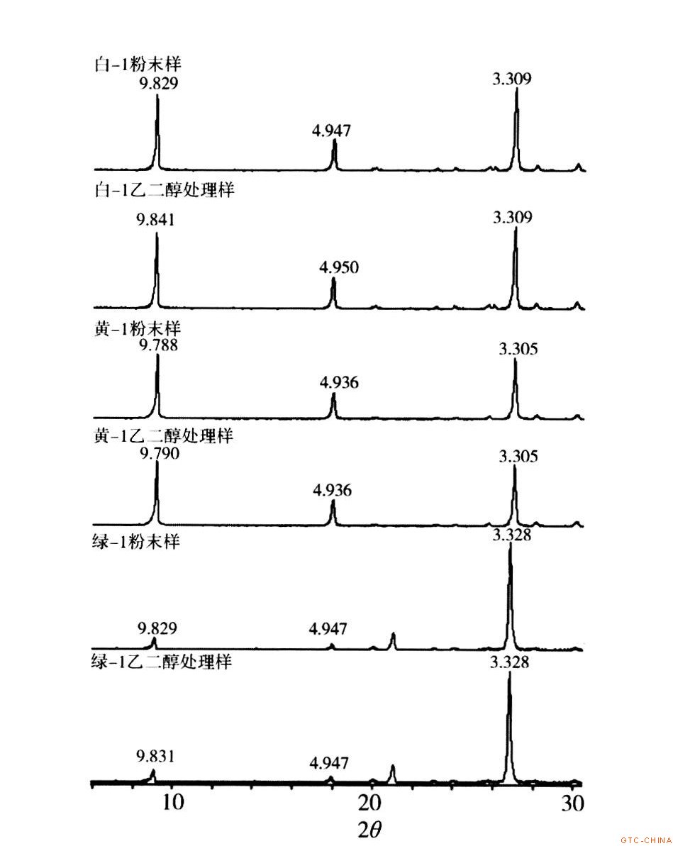
样品绿色-1、白色-1和黄色-1等衍射曲线非常相似(图1),表现为d((114)0.350 nm和d(114) 0.320 nm衍射峰峰形显著而尖锐,d(113)0.390、d(023)0.374、d(025)0.300、d(115) 0.287和d(116)0.280 nm等衍射峰明显,这些都是

图1 样品X射线粉末衍射图谱
Fig. 1 X-ray power diffraction pattern of jade sample
由于绢云母和水云母的X粉末衍射非常类似,精细区分二者需要对样品进行乙二醇饱和处理。乙二醇饱和处理可以检测绢云母中是否含有可膨胀性间层矿物。绢云母中膨胀间层<5%,而水云母中膨胀间层增大至5% ~ 20%[11]。乙二醇饱和处理样品的X射线衍射图谱见图2。

图2 乙二醇处理前后的广绿玉X射线衍射图
Fig.2 Patterns of X-ray power diffraction of Guangning jades before and after glycol treatment
从图1与图2比较看出,样品经过乙二醇饱和处理后,白色样品的第一个底面反射值从0.9829nm增大到0.9841 nm,前后底面的位移值△d=0.0012 nm。绿色和黄色样品第一个底面反射位移值非常小,△d= 0.0002 nm。根据OMелbЯHеkO[11]的研究表明:当△d=0 ~ 0.003 nm时,为非水化绢云母;当△d=0.003 ~ 0.010nm时,为弱水化绢云母;当△d=0.01 ~ 0.015 nm时为强水化绢云母。广绿玉玉石中绢云母△d均小于0.0012 nm,为水化程度很低的绢云母,其矿物结构中基本不含膨胀间层。
绿色-1号样品还可见0.425 nm等衍射峰,指示有石英矿物存在。黑色玉石样品的衍射图谱与其他3种颜色玉石的衍射图谱有较明显的区别,主要矿物为绿泥石(图1)。另外,通过几十个各种颜色的广绿玉石样品的X粉末衍射结果显示,广绿玉玉石中不含叶腊石。
从峰形特征看,样品的衍射峰峰形尖锐、基本对称,表明绢云母样品的结晶度较好,水化程度较低。衍射的d(060)值对于判定绢云母的晶体结构具有重要意义。绢云母是由两层硅氧四面体中间夹一层铝氧八面体构成。在云母类矿物中,当d(060)=0.152 ~ 0.155 nm时为三八面体,而d(060)=0.149 ~ 0.151 nm时为二八面体[12]。本文绢云母d(060)值介于0.1502 ~ 0.1505 nm,属二八面体类型。
2.2 红外吸收光谱分析
绿、白和黄3类样品的红外吸收谱基本类似(图3),与矿物标准红外图谱[13]比对后发现,其谱带组合表现为绢云母。在高频区的3620 cm-1附近有1个中等强度的吸收峰,归属Al—O—H的振动;中频区l 020 cm-1附近1个强吸收带,归属Si—O—Si的振动;中频区915、830和
如果绢云母矿物内含有膨胀性间层,在红外光谱图中会出现归属于蒙脱石的谱带特征[10, 12]。蒙脱石与绢云母在中低频区的谱带特征类似,但在高频区的明显不同。蒙脱石在3 620 cm-1有个归属Al—O—H键的伸缩振动,同时在3400cm-1附近还有一个归属于层间水分子H—O—H键振动谱。但从研究测试的三种颜色样品的红外谱图都未见到3400cm-1附近的H—O—H键吸收谱,说明此类玉石的谱学特征均归属于绢云母,且不含有蒙脱石可膨胀间层。
黑色样品的红外吸收谱与绿、白和黄3类样品明显不同,其6个明显的吸收带分别位于3 550、3420、1000、745、530和450cm-1,表现为绿泥石矿物的结构基团。同时,该样品中在420 cm-1处也出现了归属于绢云母的吸收带。

